摩尼殿诸天尊像壁画研究
【类型】期刊
【作者】邢鹏(首都博物馆)
【作者单位】首都博物馆
【刊名】文物春秋
【关键词】 河北正定;摩尼殿;诸天尊像;明代壁画
【ISSN号】1003-6555
【页码】P50-55
【年份】2019
【期号】第6期
【期刊卷】0
【摘要】笔者通过对河北正定隆兴寺摩尼殿壁画中的诸天尊像与北京法海寺、大慧寺等处的诸天尊像进行比较,发现诸天尊像存在同一神像有不同名号的现象,同时以法海寺的二十诸天像为主要标准器,对摩尼殿壁画中的部分神像名号进行了研究探讨,并对诸天尊像的演化规律等提出了自己的看法。
【全文】 文献传递
摩尼殿诸天尊像壁画研究
【关键词】河北正定;摩尼殿;诸天尊像;明代壁画
【摘 要】笔者通过对河北正定隆兴寺摩尼殿壁画中的诸天尊像与北京法海寺、大慧寺等处的诸天尊像进行比较,发现诸天尊像存在同一神像有不同名号的现象,同时以法海寺的二十诸天像为主要标准器,对摩尼殿壁画中的部分神像名号进行了研究探讨,并对诸天尊像的演化规律等提出了自己的看法。
正定隆兴寺摩尼殿的檐墙内壁原有明代壁画,因历史原因已有残缺,现存15尊像,正定县文物保护管理所的刘友恒等根据壁画的榜题文字确定了这些尊像的名号,并根据一块刻有年号题记的檐墙砖认为这堂壁画不应早于明成化二十二年(1486年)[1](以下简称“刘文”)。笔者根据自己对北京地区现存明清诸天像的壁画、水陆画、塑像等资料[2]的认识,以北京模式口法海寺的二十诸天像为主要标准器,以其他诸天像题材为辅助依据,结合佛经所记载的名号,对刘文所认定的摩尼殿壁画中诸天像的身份提出一些浅见。
一、一神多名
所谓“一神多名”,是指同样题材、同样形象的神像在不同地区有不同的名号,这种现象干扰了研究工作的深入进行。
1、大悲尊天:摩尼殿的“大悲尊天”像位于东抱厦南壁最西侧,为三面六臂形象,其左面为猪首。左面猪首貌、六臂是摩利支天的主要特征,这一特征与法海寺壁画[3]、首都博物馆藏金铜造像一致。因此笔者赞同刘文“从画面形象看与摩利支天相近”的推测,可以断定“大悲尊天”即为“摩利支天”(图一)。
2、兜率陀天:摩尼殿的“兜率陀天”像位于东抱厦北壁中央,为女性手持谷穗的形象。根据法海寺壁画及大慧寺彩塑的老照片中的坚牢地神像为手持谷穗形象的资料,笔者赞同刘文“似应为二十天中的坚牢地神”的推测,可以断定“兜率陀天”即为“坚牢地神”(图二)。

图一 大悲尊天与摩利支天
1.摩尼殿壁画 2.法海寺壁画 3.首都博物馆藏金铜造像(清)
3、大力尊天:摩尼殿的“大力尊天”像位于东抱厦北壁最东侧,其为头戴发箍、双手合十、带柄斧钺横置肘部的形象。刘文认为经文中并无“大力尊天”之名,但在法海寺壁画中“散脂大将”与此大力尊天像形象特征及所持法器均相同,只是持斧钺的姿势不同,因此可以推定“大力尊天”即为“散脂大将”(图三)。
二、值得商榷的尊像
1、北抱厦西壁之南侧一尊:此尊像的榜题已失,但其头戴冕旒、手捧圭板的形象仍可辨识,刘文认为是“二十四天中的帝释天”。但法海寺壁画、大慧寺彩塑等所见帝释天均不戴冕旒冠,戴冕旒冠的分别是法海寺的阎摩罗王(简称“阎王”)和大慧寺的彩塑龙王像,唯阎王面色较深,且虬髯,龙王则面色较浅,鼻翼两侧有须连至颧骨处。根据此尊画像头戴冕旒冠,面部、手部较其它天神(如鬼子母、辩才天、日天等)颜色深并有虬髯等特点,笔者推定此为阎王像(图四)。

图二 兜率陀天与坚牢地神
1.摩尼殿壁画 2.法海寺壁画 3.大慧寺彩塑

图三 大力尊天与散脂大将
1.摩尼殿壁画 2.法海寺壁画 3.大慧寺彩塑
2、北抱厦西壁之北侧一尊:此尊像的榜题残损,仅见“□ 尊天”字样。刘文定名为“摩 尊天”,并认为是“释迦牟尼在俗时生的儿子”。笔者推测此尊像属于佛教护法神系列天龙八部之中的“摩 罗伽”(Mahoraga)像。因为释迦牟尼出家之前所生之子的名字多译作“罗怙罗”,而非“罗 罗”,其常见形象为罗汉装——光头,着僧衣,结跏趺端坐,双手捧王冠(图五)。因此笔者认为此尊护法神像应为摩 罗伽像。

图四 阎摩罗王像
1.摩尼殿壁画 2.法海寺壁画 3.大慧寺彩塑

图五 铜鎏金罗怙罗像(首都博物馆藏)
3、北抱厦西壁之中央一尊:此尊像为顶盔罩甲的将军形象,其四字榜题中前两字已模糊,只存“尊天”二字可辨。刘文称是韦陀尊天,“似比西抱厦南壁的韦陀显得老成,风格也更为粗犷”。但就笔者所见诸天题材的壁画、雕塑中,尚无在同一堂诸天像中有两尊韦陀的情况,故此尊并非韦陀像,根据其左手所持长柄伞幢,笔者推定应为北方多闻天王像,其榜题应为“多闻尊天”。
三、相关推测
1、西抱厦北壁之中央一尊:刘文定名为“准提尊天”。此尊像脸部已残,腹部以下无存,仅可见其为菩萨装束,双手于胸前合十。经仔细观察,可见其右耳之后还
残存一头戴冠的面部,右肩之下除合十的右臂外,另有向右侧持物的一臂,正面左后残存一伞幢的顶部。据此可知,此尊像应为一头多面多臂的神像。因法海寺壁画中的“大辩才天”为一头一面多臂的形象,而摩尼殿的“大辩才天”则变为一头三面多臂,据此笔者推测,此尊一头多面多臂的“准提尊天”似应对应法海寺壁画中的一头一面三目八臂的大自在天像(又名“摩醯首罗天”)——亦是一神多名的现象(图六)。
2、西抱厦北壁之西侧一尊:此尊像已残损模糊,榜题亦无存,但根据其残存的发髻可辨别出为一头一面菩萨装的女性形象,左手似持一树枝状物。根据经典所载二十四诸天名号及法海寺壁画中的形象,帝释天、摩醯首罗天、月天、摩利支天、大辩才天、鬼子母天、菩提树天均为女性神,现在月天、摩利支天、大辩才天、鬼子母天和摩醯首罗天诸神像都已明确,帝释天像一般与大梵天像相对出现,而东、西、北三抱厦均未出现大梵天像,故推测大梵天与帝释天像均应位于南抱厦的两壁。在排除了其它女性神像后,仅有菩提树天像为女性形象了,且其左手持树枝状物,故笔者推定此尊像为菩提树天像(图七)。

图六 大自在天
1.法海寺壁画 2.首都博物馆藏水陆画 3.大慧寺彩塑

图七 菩提树天
1.摩尼殿壁画 2.法海寺壁画 3.大慧寺彩塑
3、如前所述,帝释天像、大梵天像应分别位于南抱厦的东西两壁上,而且因此二天尊在诸天系列中处于统领地位,故其位置应靠近释迦佛,具体哪一尊位于东壁、哪一尊位于西壁,尚待进一步研究。
4、据前述北方多闻天王处于北抱厦西壁中央,笔者认为南抱厦东壁中央应为南方增长天王像(持宝剑),西壁中央应为西方广目天王像(持蛇和宝珠),北抱厦东壁中央应为东方持国天王像(抱琵琶)。

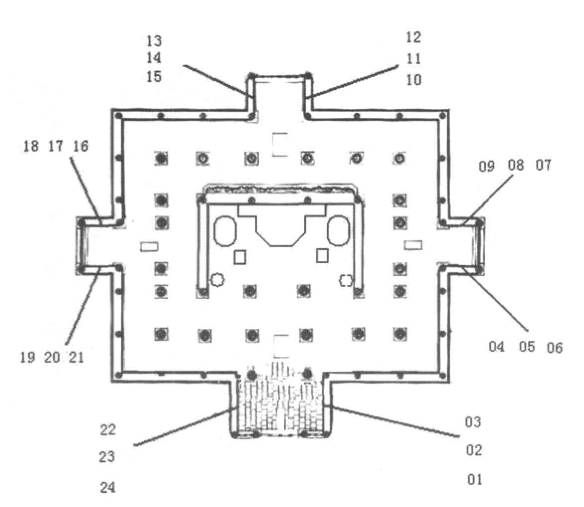
图八 摩尼殿壁画诸天位置示意图
5、经以上分析,笔者认为摩尼殿的二十四诸天像自南抱厦东壁最南侧为起点,按逆时针顺序分别为:1号为大梵天像,2号为南方增长天王像,4号为摩利支天像(即“大悲尊天”像),5号为鬼子母像,6号为密迹金刚像(即“金刚尊天”像),7号为散脂大将像(即“大力尊天”像),8号为坚牢地神像(即“兜率陀天”像),9号为日天像(即“日宫尊天”像),11号为东方持国天王像,13号为摩 罗伽像(即“□ 尊天”像),14号为北方多闻天王像,15号为阎摩罗王像,16号为月天像(即“月宫尊天”像),17号为摩醯首罗天(即“准提尊天”像),18号为菩提树天像,19号为韦陀尊天像,20号为大功德天像(即“功德尊天”像),21号为辩才尊天像,23号为西方广目天王像,24号为帝释天像。其中南抱厦东壁的3号像,北抱厦东壁的10号和12号像、南抱厦西壁的22号像尚无法确定名号(图八)。
因常见的二十四天为帝释天、大梵天、大自在天(摩醯首罗天)、大功德天(吉祥天女)、北方多闻天王、西方广目天王、南方增长天王、东方持国天王、月天、日天、韦陀、密迹金刚、大辩才天、摩利支天、散脂大将、鬼子母、菩提树天、坚牢地天、阎王和龙王等二十天,及紧那罗、紫薇大帝、东岳大帝与雷神四神,但摩尼殿壁画中的“□ 尊天”名号,是目前所见典籍中没有记载的;而且摩尼殿明代壁画的年代处在法海寺壁画(正统年间)与拈花寺、大慧寺彩塑(万历年间)之间,可能处于从“二十天”向“二十四天”的发展和过渡期,难免与明末所确定的诸天名号不能一一对应。
对于上列名号无法确定的四尊神像,笔者推测为龙王、紧那罗、紫薇大帝、东岳大帝、雷神这五神中的四尊。又因龙王像多与阎王像相对设置,故大胆推测10号像为龙王像。
四、诸天像演化的规律
通过上述对北京地区与正定摩尼殿诸天形象的比较和分析,笔者认为佛教护法神中诸天神像的演化有自身的发展规律:一方面是时代因素在起作用,另一方面是不同地区间对诸天像的认识和流传也不同。
同为明朝的诸天题材内容,在明代的不同时期,诸天的形象会有不同的变化。以诸天像中最容易被识别的“鬼子母”像为例,不同时期的鬼子母像有不同的形象特征,如主尊女神的身姿或直立,或回首,或一手挽孩童,或抚摸孩童的头顶;而孩童的样子最具有判断时代的特征:从大觉寺彩塑和法海寺壁画看,明代宣德、正统年间的孩童都是自己站立在主尊女神身旁,而从万历三十七年和清代的水陆画以及大约在万历朝前后完成的大慧寺彩塑看,鬼子母像中的孩童就已经骑坐在一罗刹的双肩上了。而根据隆兴寺摩尼殿壁画,孩童形象的变化至少从成化二十二年之后就已经开始了。
地区因素表现在上述对“大辩才天”形象的比较上,如北京地区的“辩才天像”都为一头一面多臂神像,而正定摩尼殿却出现了一头三面多臂神像的变化。
二十四诸天是佛教的护法神,并非主要供奉对象,摩尼殿的这堂诸天像被设计在四抱厦内也说明了这一点。而从摩尼殿的整体布局看,殿内是布置成一处释迦佛说法的道场,诸天像位于道场外围,既能听佛说法,又起到护法和守卫道场的作用。
[1]刘友恒,郭玲娣,樊瑞平:《隆兴寺摩尼殿壁画初探》(上、下),《文物春秋》2009年5期、2010年1期。
[2]这些诸天像包括石景山模式口法海寺明代正统九年(1444年)的二十诸天像壁画、万历三十七年(1609年)皇家敕造水陆画(现藏首都博物馆,见北京市文物局:《北京文物精粹大系·佛造像卷(下)》,北京出版社,2001年)、西郊阳台山大觉寺明宣德三年(1428年)诸天泥塑像、魏公村大慧寺的明代泥塑、现分别存放在法源寺(四天王像)及阜成门内妙应寺(18尊,另有2尊像下落不明)的原拈花寺(明代称千佛寺)铜二十四诸天像等。
[3]北京市法海寺文物保管所,中国旅游出版社画册编辑室:《法海寺壁画》,中国旅游出版社,1993年。
〔责任编辑:成彩虹〕

